- 上海良大閥門有限公司
- 電話:021-51875578
- 傳真:021-57443237
- 手機:13916747333
- 郵箱:a15566@126.com
- 地址:奉賢區工業綜合開發區942號
當前位置:首頁 >> 排泥閥
>> 隔膜式排泥閥 >> 膜片式快開排泥閥 更新時間 2025-5-10 0:29:05
隔膜式排泥閥
| 膜片式快開排泥閥 |
![]() |
產品名稱: | 膜片式快開排泥閥 | |||||
| 型號: | JM644X | ||||||
| 口徑: | DN50-400 | ||||||
| 壓力: | 0.6-1.6MPa | ||||||
| 材質: | 鑄鐵,鑄鋼,不銹鋼等 | ||||||
|
|||||||
| 您正在瀏覽:【膜片式快開排泥閥】 | |||||||
膜片式快開排泥閥詳細介紹
膜片式快開排泥閥產品簡介:
膜片式快開排泥閥又稱隔膜式快開排泥閥,是一種由液壓源或氣動源作執行機構的角型截斷類閥門通常成排安裝在沉淀池底部外側壁,用以排除池底沉淀的泥砂和污物。膜片式快開排泥閥由尼龍強化橡膠隔膜將閥門分為兩個腔室,接通液壓或氣動源,采用電動或手動二位四通換向閥控制,實現快速排泥。該閥將隔膜代替活塞無運動摩擦,更適用于泥漿等顆粒介質,大大提高了閥門的使用壽命。膜片式快開排泥閥產品實物圖:

膜片式快開排泥閥產品特點:
1、采用全襯膠閥板,密封效果好,無泄漏。經久耐用,使用壽命長。
2、在雙室隔膜的膜片壓板裝1個節流裝置,承啟關閉、打開的作用。
3、采用雙室隔膜傳動機構,閥門開啟平穩快捷,比活塞式閥門具有以下優點:
a. 無運動磨損,不會因雜質而產生漏水;
b.對泥沙淤積不敏感;
c.不需要潤滑,無機械磨損,無定期更換的橡膠制品,使用壽命長;
4、驅動介質壓力水可直接采用自來水或本水池上部清水,(壓力≥0.05MPa)操作方便。
5、自動化程度高,可實現遠距離自動控制和集中控制。
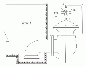
膜片式快開排泥閥安裝示意圖:

膜片式快開排泥閥技術參數:
公稱壓力:0.6MPa-1.6MPa
公稱通徑:50~400mm
適用介質:水、污水
驅動介質:清水、氣
適用溫度:0~80℃
法蘭標準:GB/T l 7241 6 GB/T 911 3
試驗標準:GB/T l 3927 APl 598
注:(如有特殊要求,訂貨時說明)膜片式快開排泥閥零件材料:
零件名稱 |
閥體、閥蓋 |
膜片壓板、閥盤 |
閥桿 |
膜片 |
材 料 |
鑄鐵、球鐵、碳鋼 |
球鐵、青銅 |
不銹鋼 |
尼龍強化橡膠 |
膜片式快開排泥閥外形結構圖:

膜片式快開排泥閥連接尺寸:
DN |
100 |
150 |
200 |
250 |
300 |
350 |
400 |
L |
160 |
190 |
225 |
260 |
280 |
315 |
340 |
L1 |
120 |
150 |
190 |
220 |
260 |
300 |
340 |
H |
370 |
440 |
53 |
0615 |
785 |
880 |
970 |
膜片式快開排泥閥安裝效果圖:

膜片式快開排泥閥使用現場圖:

提示:本文中所有文字、數據、圖片均只適用于參考,需要了解更詳細的【膜片式快開排泥閥】參數、選型、價格等請聯系我們,我們將竭誠為您服務!



















