- 上海良大閥門有限公司
- 電話:021-51875578
- 傳真:021-57443237
- 手機:13916747333
- 郵箱:a15566@126.com
- 地址:奉賢區工業綜合開發區942號
當前位置:首頁 >> 保溫閥門
>> 保溫過濾器 >> Y型保溫過濾器 更新時間 2025-5-10 0:37:34
保溫過濾器
| Y型保溫過濾器 |
![]() |
產品名稱: | Y型保溫過濾器 | |||||
| 型號: | BGL41H/W | ||||||
| 口徑: | DN40-450 | ||||||
| 壓力: | 1.0-6.4MPa | ||||||
| 材質: | 鑄鋼、不銹鋼等 | ||||||
|
|||||||
| 您正在瀏覽:【Y型保溫過濾器】 | |||||||
Y型保溫過濾器詳細介紹
Y型保溫過濾器產品概述:
Y型保溫過濾器是我廠為滿足一些流體過濾時需對其保溫才能獲得良好的輸送性能,或根據用戶工況的需要,克服介質因溫度下降易結晶、凝固,而設計制造的一款產品。其在普通Y型過濾器的基礎上焊裝保溫夾套,用于注入蒸汽或導熱油,以保持或提升流體的溫度,防止物料凝固,提高粘性液體的過濾速度,或滿足下一道工序對溫度的要求。本產品特別適合于一些高粘度介質的過濾,被廣泛應用于石油、化工、瀝青、冶金、制藥、食品等各類系統中。
Y型保溫過濾器性能規范:
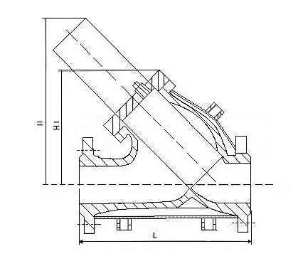
Y型保溫過濾器外形結構圖:

Y型保溫過濾器連接尺寸:
Y型保溫過濾器性能規范:
型號
|
連接形式
|
公稱壓力MPa
|
試驗壓力MPa
|
工作壓力MPa
|
殼體材料
|
過濾網材料
|
適用介質
|
BGL41H/W-10
|
法蘭
|
1.0
|
1.1
|
1.0
|
灰鑄鐵
|
1.1
|
水、油和氣等
|
BGL41H/W-16
|
法蘭
|
1.6
|
1.76
|
1.6
|
球墨鑄鐵
|
1.76
|
|
BGL41H/W-25
|
法蘭
|
2.5
|
2.75
|
2.5
|
碳鋼
|
2.75
|
Y型保溫過濾器外形結構圖:

Y型保溫過濾器連接尺寸:
口徑DN(mm)
|
40
|
50
|
65
|
80
|
100
|
125
|
150
|
200
|
250
|
300
|
350
|
400
|
450
|
|
BGL41H/W
|
L
|
200
|
220
|
260
|
280
|
320
|
350
|
380
|
495
|
595
|
640
|
700
|
800
|
850
|
H
|
100
|
130
|
165
|
195
|
230
|
300
|
335
|
420
|
500
|
580
|
640
|
700
|
790
|
|
提示:本文中所有文字、數據、圖片均只適用于參考,需要了解更詳細的【Y型保溫過濾器】參數、選型、價格等請聯系我們,我們將竭誠為您服務!



















