- 上海良大閥門有限公司
- 電話:021-51875578
- 傳真:021-57443237
- 手機:13916747333
- 郵箱:a15566@126.com
- 地址:奉賢區工業綜合開發區942號
當前位置:首頁 >> 放料閥
>> 搪玻璃放料閥 >> 搪玻璃放料閥 更新時間 2025-5-10 0:27:54
搪玻璃放料閥
| 搪玻璃放料閥 |
![]() |
產品名稱: | 搪玻璃放料閥 | |||||
| 型號: | HG5-16-79 | ||||||
| 口徑: | DN25-200 | ||||||
| 壓力: | 1.6-2.5MPa | ||||||
| 材質: | 鑄鋼、不銹鋼304/316/316L | ||||||
|
|||||||
| 您正在瀏覽:【搪玻璃放料閥】 | |||||||
搪玻璃放料閥詳細介紹
搪玻璃放料閥工作原理:
搪玻璃放料閥可分上展或下展式放料,上展式的手輪往右邊轉為關,往左邊轉為開,下展式的手輪往右邊轉為開,往左邊轉為關閉,閥體為V型,并提供提升和下降兩種工作方式的閥瓣。搪玻璃放料閥用途介紹:
搪玻璃設備是喊高硅量的玻璃質釉。通過900℃左右高溫涂于金屬胎而成。它具有良好的機械性能和耐腐蝕性能,能防止介質與金屬離子取代作用而影響污染制品,并且表面光潔、耐磨、有一定的熱穩定性。在化工、石油、冶金、制藥、農藥、染料、食品加工等行業廣泛使用。
搪玻璃放料閥性能優點:
1、耐腐蝕性強、能耐一般無機酸、有機酸弱堿液(P≤60℃ PH≤12)以及有機劑介質。
在鹽酸、硝酸、水等強腐蝕性介質中優于不銹鋼。
嚴禁使用含氟離子液體(如HF等)也不能用強堿及磷酸(溫度>150℃濃度>30%)
2、耐熱性,允許在-30℃至+240℃間使用(耐溫急變小于120℃)。
3、HG5-16-79搪玻璃放料閥具有光滑的表面。不易粘結物料、易清洗。
4、絕緣性:玻璃料有良好的絕緣性,厚1mm的玻璃在2000伏的高壓下不會被擊穿而導電。
5、耐沖擊性:耐沖擊性能較小為2500克/厘米,因而使用時應避免硬物沖擊。
搪玻璃放料閥適用范圍:
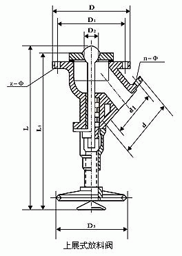
上展式搪玻璃放料閥尺寸表:

下展式搪玻璃放料閥尺寸表:

搪玻璃放料閥適用范圍:
產品名稱
|
規格
|
使用范圍
|
50~100L反鍋
|
搪玻璃放料閥
|
DN70/32
|
50~100L反鍋
|
200L
|
DN80/40
|
200~500L反鍋
|
300~500L
|
|
DN100/50
|
1000~2000L反鍋
|
1000~2000L
|
|
DN125/80
|
3000L反鍋
|
3000L
|
|
DN150/100
|
5000L以上的反鍋
|
500-300L貯罐
|
上展式搪玻璃放料閥尺寸表:

配反應罐
|
規格
|
D
|
D1
|
D2
|
D3
|
z-φ
|
d
|
d1
|
n-φ
|
L
|
L1
|
50-100L
|
70/32
|
160
|
130
|
32
|
160
|
4-14
|
120
|
90
|
4-14
|
350
|
325
|
200-500L
|
80/40
|
185
|
150
|
42
|
160
|
4-18
|
130
|
100
|
4-14
|
360
|
330
|
1000-2000L
|
100/50
|
205
|
170
|
50
|
180
|
4-18
|
140
|
110
|
4-16
|
395
|
360
|
1000-2000L
|
100/50
|
210
|
185
|
50
|
180
|
6-14
|
140
|
110
|
4-16
|
395
|
360
|
1000-2000L
|
100/50
|
210
|
190
|
50
|
180
|
8-14
|
140
|
110
|
4-16
|
395
|
360
|
3000L
|
125/80
|
235
|
200
|
65
|
200
|
8-18
|
185
|
150
|
4-18
|
450
|
400
|
3000L
|
125/80
|
235
|
210
|
65
|
200
|
10-14
|
185
|
150
|
4-18
|
450
|
400
|
5000L
|
150/100
|
260
|
225
|
85
|
200
|
8-18
|
205
|
170
|
4-18
|
485
|
420
|
下展式搪玻璃放料閥尺寸表:

配反應罐
|
規格
|
D
|
D1
|
D2
|
D3
|
z-φ
|
d
|
d1
|
n-φ
|
L
|
50-100L
|
70/32
|
160
|
130
|
32
|
160
|
4-14
|
120
|
90
|
4-14
|
268
|
200-500L
|
80/50
|
185
|
150
|
42
|
100
|
4-18
|
130
|
100
|
4-14
|
275
|
1000-2000L
|
100/50
|
205
|
170
|
50
|
180
|
4-18
|
140
|
110
|
4-16
|
315
|
1000-2000L
|
100/50
|
210
|
185
|
50
|
180
|
6-14
|
140
|
110
|
4-16
|
315
|
1000-2000L
|
100/50
|
210
|
190
|
50
|
180
|
8-14
|
140
|
110
|
4-16
|
315
|
3000L
|
125/80
|
235
|
200
|
65
|
200
|
8-18
|
185
|
150
|
4-18
|
365
|
3000L
|
125/80
|
235
|
210
|
65
|
200
|
10-14
|
185
|
150
|
4-18
|
365
|
5000L
|
150/100
|
260
|
225
|
85
|
200
|
8-18
|
205
|
170
|
4-18
|
505
|
搪玻璃放料閥維護保養和安裝使用注意事項:
1、在裝修時凡與瓷面接觸的地方必須用石棉或四氟片等軟墊。使用工具不能與瓷面沖擊或摩擦,更不能用金屬工具鏟打。
2、在緊固螺絲時四周以等力上緊,防止瓷面受力不勻而裂瓷。放料閥絲桿要經常保持潤滑、防止生銹。
3、流經介質只能是液態,不得有硬顆粒混入液體內,防止瓷面起毛或堵塞,以及開啟失靈等等。
4、在安裝時應注意各部的螺絲受力是否平衡、升降(活動)是否靈活。
5、在搪瓷面的各部密封件應保持中心位置。壓力均勻,以防泄漏。
6、使用時如發現有漏,應立即檢查密封裝置是否確當、不能用鐵棍、桿把手輪硬扳緊,以免損壞零件。
7、出料當受阻塞時,可以使用金屬桿或硬性工具疏通,不得使用金屬桿或硬性工具。
8、應盡量避免酸堿介質交替使用(除中和反應介質),以免縮短壽命。
9、根據介質性能及使用期,應經常檢查閥體頸部四氟密封圈和孔板部的四氟薄片。如發現有損壞應及時更換再使用。
10、若發現瓷面有損壞時應立即停用。可用專門涂料修補患處,或委托有關生產單位重新現做搪瓷。
提示:本文中所有文字、數據、圖片均只適用于參考,需要了解更詳細的【搪玻璃放料閥】參數、選型、價格等請聯系我們,我們將竭誠為您服務!



















