- 上海良大閥門有限公司
- 電話:021-51875578
- 傳真:021-57443237
- 手機:13916747333
- 郵箱:a15566@126.com
- 地址:奉賢區工業綜合開發區942號
當前位置:首頁 >> 放料閥
>> Y型料漿閥 >> Y型料漿閥 更新時間 2025-5-10 0:27:55
Y型料漿閥
| Y型料漿閥 |
![]() |
產品名稱: | Y型料漿閥 | |||||
| 型號: | SJS45Y | ||||||
| 口徑: | DN50-300 | ||||||
| 壓力: | 1.6-2.5MPa | ||||||
| 材質: | 鑄鋼、不銹鋼304/316/316L | ||||||
|
|||||||
| 您正在瀏覽:【Y型料漿閥】 | |||||||
Y型料漿閥詳細介紹
Y型料漿閥用途范圍:
料漿閥主要用于鋁廠,料漿閥根據實際情況的需要,放底結構設計為凸型,閥體為V型,并提供提升和下降兩種工作方式閥瓣。閥體內腔裝有耐沖刷、耐腐蝕的密封圈,在開啟閥門瞬間,可以保護閥體不被介質沖刷、腐蝕,并對密封圈進行特種處理,使表面硬度達到HRC56~62,具有高耐磨、耐腐蝕的功能。閥瓣密封根據需要是封面均堆焊有硬質合金,密封副采用線密封,保證密封的可靠性,并可防止結疤。同時,采取短行程閥瓣的設計。在化工、石油、冶金、制藥、農藥、染料、食品加工等行業廣泛使用。各種操作方式,例如手動,氣動(彈簧復位式,雙作用式、帶手輪和不帶手輪),電動,液動,齒輪等。Y型料漿閥產品特點:
料漿閥采用Y型直通式結構,流阻小、不容易結疤,左右閥體分開式,兩閥體之間夾有閥座,維修時只需拆開兩閥體的螺栓就可清洗或修理,若有損壞的零件也可以及時更換,閥體內腔受沖刷較嚴重的部位裝有硬質合金的保護襯板,在開啟閥門時,可以保護閥體不被介質沖刷、腐蝕,從而大大地提高了閥門的使用壽命,密封面之間堆焊硬質合金,硬度高。閥瓣采用錐形密封面,閥座選用一個極小的圓弧形密封面。這樣,在閥瓣與閥座密合時形成一種類似線密封的密封形式,密封效果極佳。此外還可有較強的防止了結疤的現象,閥門帶有上密封結構,全開時可以保護填料,閥門導向裝置設置在體腔外部,不與介質接觸,防止了類似閘閥的導向部位卡死現象。
Y型料漿閥產品執行標準:
設計制造按:ASMEB16.34(Class150為縮徑設計)、BS1873
法蘭端尺寸按:ASMEB16.5\GB/T9II3.6
檢驗標準:API598
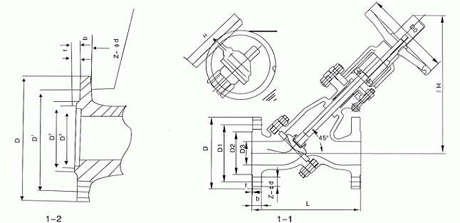
Y型料漿閥外形結構圖:

Y型料漿閥外形連接尺寸:
Y型料漿閥外形結構圖:

Y型料漿閥外形連接尺寸:
型號 |
公稱壓力PN | 尺寸(mm) | ||||||||
|---|---|---|---|---|---|---|---|---|---|---|
| DN | 50 | 100 | 125 | 150 | 150 | 200 | 250 | 300 | ||
| SJS45Y-16C SJS545Y-16C |
1.6 | L | 230 | 350 | 400 | 480 | 480 | 600 | 730 | 850 |
| H | 320 | 464 | 510 | 710 | 595 | 810 | 920 | 1120 | ||
| DO | 240 | 280 | 320 | 360 | 360 | 500 | 500 | 600 | ||
| 重量WT(kg) | 36 | 66 | 90 | 105 | 105 | 185 | 305 | 420 | ||
| SJS45Y-25C SJS545Y-25C |
2.5 | L | 230 | 350 | 400 | 480 | 480 | 600 | 730 | 850 |
| H | 320 | 464 | 510 | 710 | 595 | 810 | 920 | 1120 | ||
| DO | 240 | 280 | 320 | 360 | 360 | 500 | 500 | 600 | ||
| 重量WT(kg) | 38 | 69 | 95 | 114 | 114 | 195 | 315 | 435 | ||
| SJS45Y-40C SJS545Y-40C |
4.0 | L | 230 | 350 | 400 | 480 | 480 | 600 | 730 | 850 |
| H | 320 | 464 | 510 | 710 | 595 | 810 | 920 | 1120 | ||
| DO | 240 | 280 | 320 | 360 | 360 | 500 | 500 | 600 | ||
| 重量WT(kg) | 42 | 70 | 95 | 114 | 114 | 195 | 315 | 435 | ||
| SJS45Y-64C SJS545Y-64C |
6.4 | L | 380 | 430 | 500 | 550 | 550 | 650 | 775 | 900 |
| H | 350 | 490 | 550 | 750 | 635 | 860 | 980 | 1120 | ||
| DO | 360 | 400 | 400 | 500 | 500 | 600 | 680 | 800 | ||
| 重量WT(kg) | 47 | 75 | 105 | 124 | 124 | 210 | 335 | 460 | ||
提示:本文中所有文字、數據、圖片均只適用于參考,需要了解更詳細的【Y型料漿閥】參數、選型、價格等請聯系我們,我們將竭誠為您服務!



















