- 上海良大閥門有限公司
- 電話:021-51875578
- 傳真:021-57443237
- 手機:13916747333
- 郵箱:a15566@126.com
- 地址:奉賢區工業綜合開發區942號
當前位置:首頁 >> 真空閥門
>> 真空球閥 >> GUD型電動高真空球閥 更新時間 2025-5-10 0:34:08
真空球閥
| GUD型電動高真空球閥 |
![]() |
產品名稱: | GUD型電動高真空球閥 | |||||
| 型號: | GUD | ||||||
| 口徑: | DN10-200 | ||||||
| 壓力: | 0.6×106 ~1.3×10-4 | ||||||
| 材質: | 304、316、316L不銹鋼 | ||||||
|
|||||||
| 您正在瀏覽:【GUD型電動高真空球閥】 | |||||||
GUD型電動高真空球閥詳細介紹
GUD型電動高真空球閥產品概述:
GUD型系列電動高球閥采用回轉型電動、電子調節式閥門驅動裝置,可以通過外接電源的切換(用手動轉位開關或電腦控制)或外部輸入信號,來實現閥門開、關或中間位置的控制,從而達到接通或切斷真空管路中氣流的目的。閥門為直通式,靠球面密封,因而既能用在真空狀態下,也能在低壓狀態下使用,并可任意位置安裝。適用的工作介質為帶酸、堿性的氣體或液體。
GUD型電動高真空球閥技術性能:
快卸法蘭(KF)2x105~1.3x10-5 |
|
標準出廠:-30~+150 |
|
標準出廠:AC220V/50Hz開關型 |
|

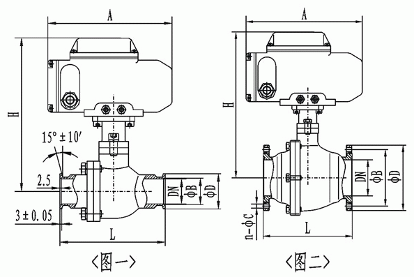
GUD型電動高真空球閥連接尺寸:
快卸法蘭(KF)連接及外形尺寸(GB4982)
活套法蘭連接及外形尺寸(GB/T6070)
| GUD-10 | 10 | 55 | 40 | 170 | 92 | ||
| GUD-20 | 20 | 65 | 50 | 191 | 114 | ||
| GUD-200 | 200 | 285 | 260 | 512 | 390 | 310 | 12-12 |
提示:本文中所有文字、數據、圖片均只適用于參考,需要了解更詳細的【GUD型電動高真空球閥】參數、選型、價格等請聯系我們,我們將竭誠為您服務!



















